0
问答首页 最新问题 热门问题 等待回答标签广场
我要提问

模拟电路电源

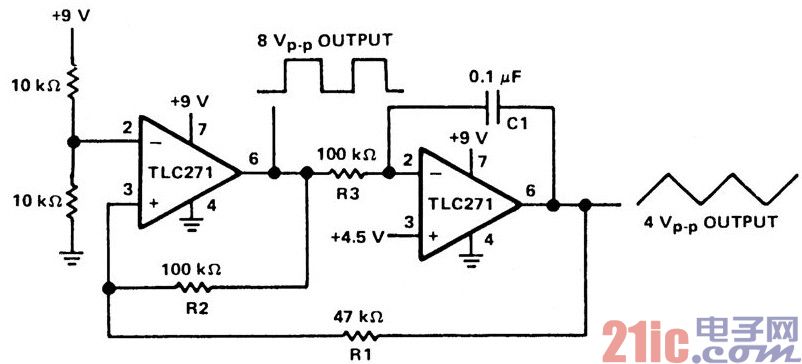
单电源供电的信号(函数)发生器电路图

单电源供电的信号(函数)发生器电路图
提问者:meiqin 地点:- 浏览次数:9337 提问时间:01-23 15:36
我有更好的答案
提 交
1条回答
ljmlvmd 01-25 09:43

电路的输出波形既可以是方波的也可以是三角波的。左边区域的功能和使用正反馈磁滞比较仪电路的功能是一样的。反相输入在电源的一半处被电阻R4和R5偏置。输出反馈到第一阶的同相输入以控制频率。方波的振幅是第一阶的输出摆动,也就是8V。


单电源供电的信号(函数)发生器.jpg

撰写答案
提 交
1 / 3
1 / 3
相关模拟电路
正弦波-方波波形变换电路
带符号位的多位二进制反码加减运算电路
最实用基本图解电路48-一相式过流保护电路
OTL音频功率放大电路
振荡电路的起振与稳幅过程电路
相关电源
TDA16846组成的彩电开关电源原理图
联想LX-PL4C2型彩色显示器开关电源电路
长虹CN-9机心彩电开关电源电路
索尼KV2184彩电开关电源电路
王牌TCL-3460D彩电开关电源电路